您现在所在的位置 :
首页 > 汕头市卫生健康局(中医药局) > 图片新闻
有些人坐地铁时
为了赶时间
会在行李包出入口掀起铅吊帘
或者近距离送取行李包
有的甚至将头、手伸入检查仓内取包

这样做到底对不对?
每天都经过地铁安检
会对我们的身体产生辐射危害吗?

检查行李包的系统是什么?
检查行李包的系统叫X射线行李包检查系统,又叫柜式X射线系统,用于对进入柜体内部的行李包进行X射线照射检查。

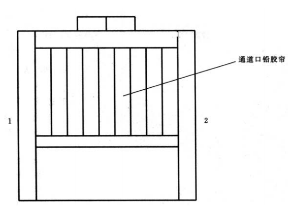
▲我们通常看到的X射线行李包检查系统是这样的
我们随身携带的行李、包箱,进入X射线行李包检查系统后,安检人员看到的是这样子的,真真是“透明”模样!

强大的行李包检查系统,能“看穿”一切,是因为运行过程中产生了X射线!
咦,这个系统能产生X射线辐射,那是不是应该“能躲多远就躲多远”?

其实不然!
根据国家卫生计生委环境保护部颁布的《射线装置分类办法》[2017年第66号]:
根据射线装置对人体健康和环境的潜在危害程度,从高到低将射线装置分为Ⅰ类、Ⅱ类、Ⅲ类,X射线行李包检查系统属于Ⅲ类射线装置,一般不会造成人员的放射损伤。

行李包检查系统对人体有辐射吗?
1.达到放射防护要求
根据《X射线行李包检查系统卫生防护标准》(GBZ127-2002)要求:系统产生辐射时,距其外表面5cm任意一点的空气比释动能率不得超过5μGy·h-1。

为了保障公众安全,设备应做到:
☆设备机壳四周及准直器部位应用铅板屏蔽;
☆检查通道出、入口均应装有铅胶帘。
☆检查系统应装有安全联锁装置,保证切断发射区的任一联锁装置,X射线能立即停止发射。


2.符合辐射剂量规定
经过安检机是否安全,受到的辐射剂量有多少,是大家非常关心的问题。

根据《电离辐射防护与辐射源安全基本标准》(GB 18871-2002)的剂量限值要求:
在实践过程中,工作人员所受的剂量限值为连续5年的年平均有效剂量不超过20mSv/a,公众所受年有效剂量不超过1mSv/a。
电离辐射是有作用阈值的,超过这个值才会真正对人体产生危害,所以也不必谈“辐”色变。

研究表明,行李包出、入口处的空气比释动能率最高,但在设备正常运行、合理操作情况下,一台安检机其外表面的空气比释动能率均低于放射卫生防护标准的要求限值。

因此,一般X射线行李包检查系统对放射工作人员和公众的健康与安全造成的影响可忽略不计。

别把头、手伸入检查仓内取包
部分旅客接受地铁等安检时,习惯在行李包出入口掀起铅吊帘或者近距离送取行李包,有的甚至将头、手伸入检查仓内取包。

由于出入口铅吊帘被掀起时,从缝隙处泄露出的射线会导致出入口处的X射线空气比释动能率水平比柜顶及两侧高。
为避免接受不必要的电离辐射照射,旅客应采用正确的通行方法。

去做放射诊疗要注意这些
非电离辐射不会对人体造成损害,生活中我们应主要防备对人体影响较大的电离辐射。

大多数人都曾做过X光、CT等放射检查,在照射剂量、时间等因素影响下,放射诊疗产生的电离辐射会对人体的敏感部位如甲状腺、乳腺、性腺等造成一定损害。
那我们在做放射诊疗时应该注意些什么呢?
1.看机构资质
想知道医疗机构有没有资格做放射诊疗,先看这个证。

为了确保放射诊疗设备的安全性,放射诊疗许可证须与医疗机构执业许可证同时校验,并定期对放射诊疗设备及场所进行检测。

2.看人员资质
进行放射诊疗工作的人员,需要放射防护培训合格证和完成上岗前健康检查。

除此之外,放射工作人员两次培训的时间间隔不超过2年,每次培训时间不少于2天。
上岗后的放射工作人员还要定期进行职业健康检查,两次检查的时间间隔不应超过2年。
3.做好防护措施
进行X光、CT等放射诊疗时,穿戴好相应的防护用具对自身做好防护。

来源:健康广东

中国政府网
无障碍版

粤公网安备 44051102000227号